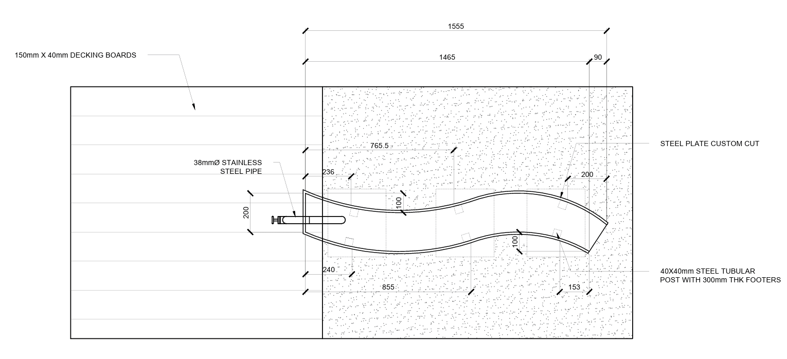
The Kids’ Water Tap Feature is designed to engage children in interactive, sensory – rich play. Featuring a durable timber deck and a stainless – steel water channel with tap, this feature allows kids to explore the movement of water in a safe and fun environment. The curved channel guides water into the sand or play area below, encouraging creativity, teamwork, and hands – on learning.
Key Features

Specifications
Fallzone Area
Free Space
Max Fall Height
Max Height
Number of Users
Structure
Total Space Required
Age Range